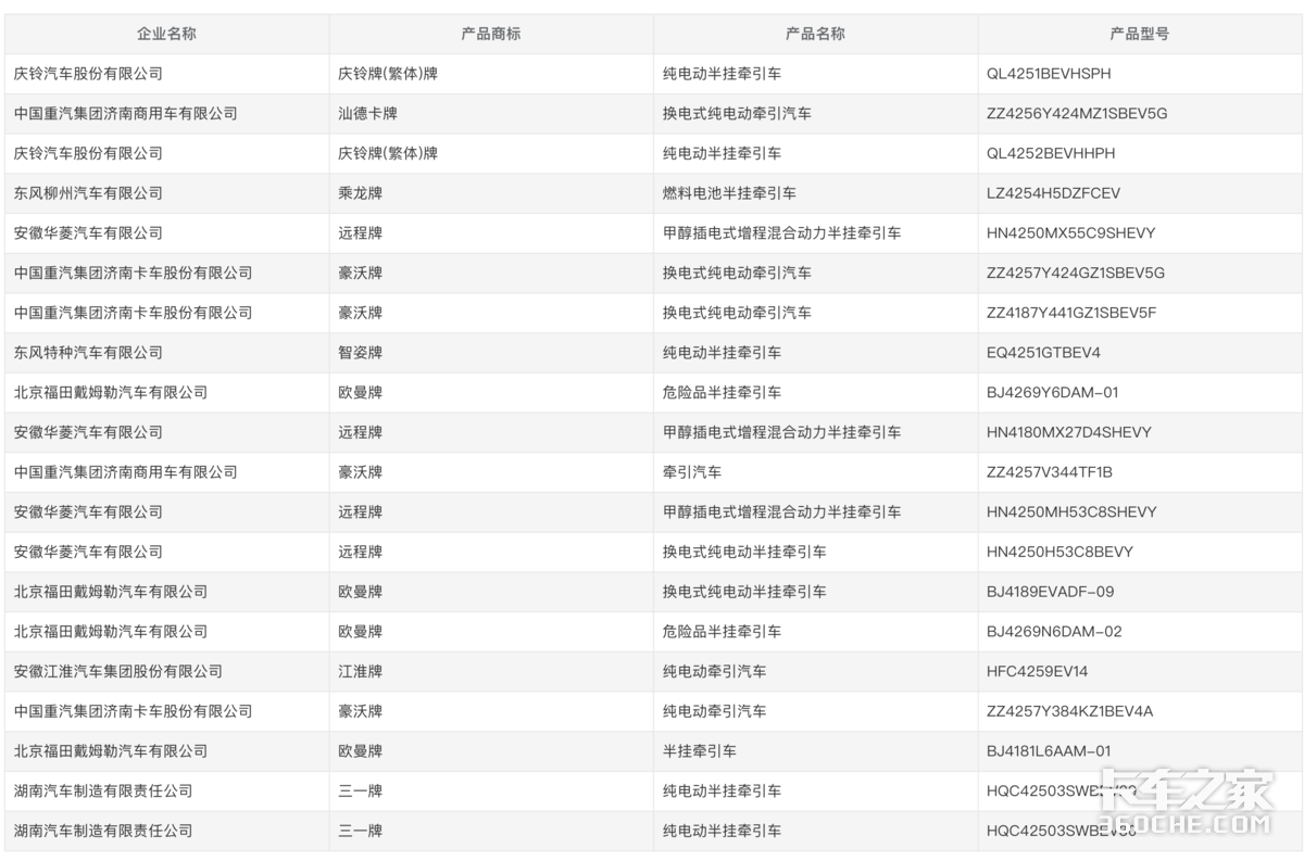
【卡车之家 原创】9月10日,工信部公布了第399批《道路机动车辆生产企业及产品公告》,此次公告中,共有35款牵引车亮相,相比397批41款,398批40款,在数量上略微减少,但是亮点十足。
此批公告中35款牵引车,包含19款纯电牵引车(含换电式),5款柴油牵引车,4款燃料电池牵引车,4款NG牵引车,3款混动牵引车。
其中最引人关注的无疑是斯堪尼亚中国申请的三款牵引车公告,其中还包括一款此前从未亮相的全新牵引车,
▎斯堪尼亚全新牵引车
在第399批汽车公告中,斯堪尼亚中国申请了三款牵引车的公告,这标志着斯堪尼亚在中国市场的国产化进程全面落地,步入实质性阶段。这不仅意味着斯堪尼亚在中国实现了从“进口销售”到“本土制造”的战略跨越,更预示着中国高端重卡市场格局将发生变化。
其中,除了我们熟悉的SUPER牵引车4x2和6x2R的公告以外,还有一款此前从未亮相的全新牵引车,外观方面,虽然整体造型和斯堪尼亚此前的产品相似,但是前脸、中网、保险杠等设计完全区分于此前的产品。
根据公告图片,中网处有“NEXT ERA”的标识,翻译为“下一个时代”,不知道是否是针对国内市场研发设计的全新产品。
这款车的公告型号为SAS4261GGN001,6x4驱动形式,依然搭载的是斯堪尼亚发动机,TD13 02、TD13 01发动机,排量12.7L,峰值功率分别为368kW、338kW,整备质量可选8550、8870、9100kg。
整车轴距为3350+1350mm,前桥搭载2片钢板悬架,第二轴和第三轴为空气悬架,轮胎规格可选295/80R22.5 18PR、315/70R22.5 20PR,限速89或110(km/h)。除此之外,斯堪尼亚还申请了3款专用车底盘以及1款6x4载货车的底盘公告。公告都已经申请了,距离上市还远吗?
▎豪沃全新平台牵引车
此批公告中,中国重汽以7款公告领跑牵引车板块,包括2款汕德卡公告和5款豪沃公告,其中包含了豪沃全新平台牵引车,公告型号为ZZ4257V344TF1B。
外观方面,颇有几分其兄弟黄河重卡的风味,线条棱角分明,取消了传统物理后视镜,也配上了电子后视镜,官方宣传风阻系数0.43,并且,这款车提供非常丰富的选装,包括双腔油箱、侧护板、顶置空调等,外观方面,可选装满天星式中网以及传统物理后视镜,LOGO也有金、银两种选择。
根据公告信息,整车轴距为3450+1400mm,动力链延续了一贯的设计,可匹配重汽MC13系列发动机以及潍柴WP14、WP15系列发动机,马力段覆盖540-680马力,整车自重可选8500、8800、9300kg。
整车悬架方面,提供非常丰富的选择:2/2、2/3、2/4、3/4、3/5、3/12、9/12、2/-/-、3/-/-、-/-/-(-表示空气悬架)。几乎涵盖了目前牵引车市场中所有常见的悬架搭配,包括前后少片簧、前少片后多片、前后多片簧、前钢板后气囊,甚至还有全空气悬架的选择。
此次申报的版本为燃油版本,但是此前重汽也对外透露,该平台除了支持燃油版以外,还可同步支持燃气、混动、纯电、甲醇、氢气等能源类型,并且配备智能域控电子电气架构,实现了车身、座舱、动力、底盘的域控制。
▎燃料电池牵引车再出新
目前,燃料电池牵引车市场正处在示范推广向商业化初期过渡的阶段,受政策影响,展现出潜力但也面临挑战。市场推广仍受成本高昂、基础设施(如加氢站)不足以及关键核心技术有待进一步突破等因素制约。
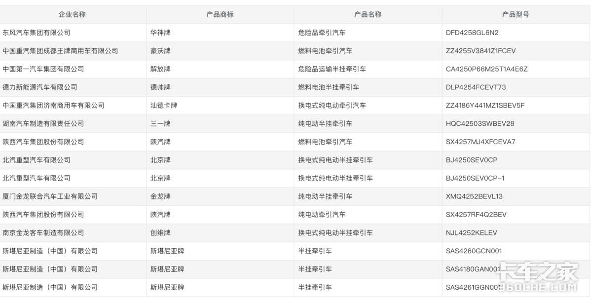
虽然终端推广目前依然受限,但国内各大主机厂依然在投入研发生产,做技术储备,最近几批公告中都有燃料电池牵引车的出现,此次399批汽车公告中,共有4款氢燃料电池牵引车,分别是乘龙牌、陕汽牌、豪沃牌、德帅牌。
乘龙牌燃料电池牵引车公告型号为LZ4254H5DZFCEV,整车轴距为4200+1350mm,储能装置采用的是微宏动力的三元锂电池,燃料电池采用的是钢研华普生产的质子交换膜燃料电池,匹配苏州朗高永磁同步电机,峰值功率为460kW,整车自重为11000kg。
豪沃牌燃料电池牵引车公告型号为ZZ4255V3841Z1FCEV,整车轴距可选3800+1400、3825+1350mm,储能装置采用的是宁德时代的磷酸铁锂电池,燃料电池采用的是蜀道丰田氢能科技生产的质子交换膜燃料电池,匹配重汽自产永磁同步电机,峰值功率为410kW,整车自重可选11450、12500kg。
陕汽德创燃料电池牵引车公告型号为SX4257MJ4XFCEVA7,整车轴距为4000+1350mm,储能装置采用的是天津荣盛盟固的锰酸锂蓄电池,燃料电池采用的是上海重塑能源科技生产的质子交换膜燃料电池,匹配苏州绿控的双电机,总峰值功率为504kW,整车自重可选11200、11650、12000、12300kg。
德帅牌燃料电池牵引车公告型号为DLP4254FCEVT73,整车轴距为4100+1350mm,储能装置采用的是宁德时代的磷酸铁锂电池,燃料电池采用的是扬青动力生产的质子交换膜燃料电池,匹配普旺汽车的驱动电机,总峰值功率为450kW,整车自重11800kg。
燃料电池牵引车市场目前处于群雄逐鹿的态势,无论是电机、电控,还是储能装备、质子膜交换燃料电池,供应链体系更为丰富,除了宁德时代、苏州绿控这些资深玩家,还有很多新兴力量,竞争日趋激烈。
▎纯电牵引车新老品牌同台竞技
最近几批汽车公告中,纯电牵引车占比都比较高,第397批公告中占比达到56%,第398批公告中占比达到45%,此次399批公告中占比达到54%,除了重汽、陕汽、福田这些老牌车企以外,还有三一、金龙、创维这些新势力,其中也有几款比较有意思的车型。
厦门金龙和南京金龙分别申请了金龙牌和创维牌的纯电牵引车,很多卡友分不清楚这两家企业,南京金龙和厦门金龙是两家独立的商用车制造企业,虽然名称相似,但分属不同集团。厦门金龙(金龙联合汽车工业有限公司)是金龙汽车集团(厦门)的核心企业,而南京金龙(开沃新能源汽车集团)由创维集团创始人黄宏生收购重组,主攻新能源商用车。两者在股东背景、产品定位和区域布局上均有差异。
厦门金龙申请的是一款充电式纯电动牵引车,公告型号为XMQ4252BEVL13,整车轴距为3900+1350mm,匹配溧阳中科海钠科技的钠离子动力电池,驱动电机峰值功率为510kW,整备质量可选10400、10900、11400kg。
南京金龙申请的创维牌换电纯电动牵引车,公告型号为NJL4252KELEV,整车轴距可选3850+1350、3850+1400mm,采用国轩高科的磷酸铁锂蓄电池,自产的驱动电机,峰值功率为520kW,整备质量可选11070、11670、12170kg。
此外,江淮也申请了一款纯电动牵引车的公告,公告型号为HFC4259EV14,外观和DeepWay牵引车一致,应该是江淮为其代工的车型,匹配宁德时代磷酸铁锂电池,电机可选苏州绿控或者南京深向科技的产品,均为双电机设计,总峰值功率分别为580kW、600kW。整备质量可选9800、10200、10700kg。
▎结语:
总体来看,第399批公告清晰地勾勒出当前中国牵引车市场的两大主线:一是高端化的持续深入,以斯堪尼亚国产化为标志,竞争日趋白热化;二是新能源化的多元爆发,技术路线更加丰富,入局者不断增多。
传统车企加速转型,新势力玩家强势切入,未来的竞争将不再是简单的马力与价格之争,而是综合了能源生态、智能化、本土化定制与全生命周期价值的全方位较量。谁能在这次变革中掌握核心技术、精准把握市场需求,谁就能在下一个时代中占据先机。
从公告走向市场,这些新产品将如何改变货运行业的格局,值得我们持续期待。











































